AG贵宾会

公司动态

了解最新公司动态及行业资讯

土壤淋洗剂的回收方法

2017-10-10 02:05:37 319 编辑:admin 来源:本站
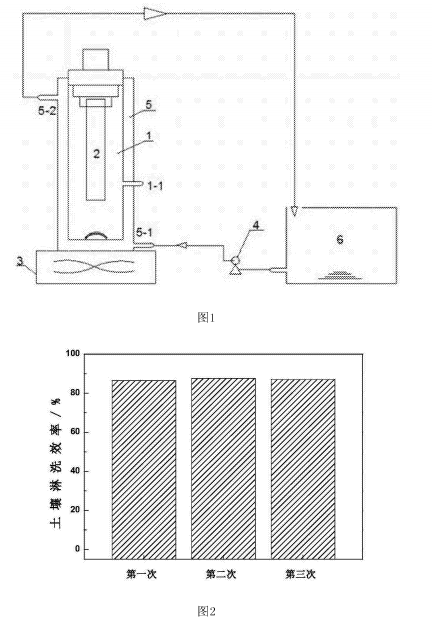
          图l是土壤淋洗剂的回收装置示意简图;
    图2是本发明回收方法优选实施例中,再生后的表面活性剂再次淋洗菲污染土壤的效果图;
    图3是本发明回收方法优选实施例中,淋洗液再生过程中菲的降解曲线:
    图4是本发明回收方法优选实施例中,表面活性剂的回收效果图。
  土壤淋洗剂的回收装置示意简图土壤淋洗剂的回收装置示意简图
    具体实施方式
    下面通过实施例,并结合附图,对本发明的技术方案作进一步具体的说明。
    本发明利用清洁能源光,以UV光活化过硫酸盐产生硫酸根自由基,选择性氧化降解土壤淋洗液中的菲,达到回收淋洗剂吐温80的目的。将再生的土壤淋洗剂用于淋洗菲污染土壤,检验土壤淋洗液的再生效果。
    实施案例l
    本方法所处理的淋洗液来自菲污染土壤的淋洗修复。用lOg/L的吐温80淋洗修复菲污染土壤,其中土壤中菲的含量为100 (+2) mg/kg土。淋洗24h后淋洗效率可达86.5%(如图2所示);此时得到的土壤淋洗液中吐温80含量为9.95g/L,菲含量为8.5mg/L。
    实施案例2
    取250ml经土壤淋洗得到的土壤淋洗液注入回收装置中,然后投加2.38g/L过硫酸钠,同时打开UV灯辐照30min。如图3所示,经30min回收选择性氧化后,淋洗液中99.6%的菲已经被去除;同时如图4所示,30min回收处理后,淋洗剂吐温80仅有18%的损失。说明本方法可以选择性地去除淋洗液中的菲。
    实施案例3
    将1.8g/L,的吐温80添加到回收的淋洗剂中,使其含量仍维持lOg/L.再次应用于土壤淋洗修复,24h的淋洗效率仍保持在87.6%(如图2所示)。淋洗得到的淋洗液再次采用本方法进行回收处理,30min后淋洗液中99.6%的菲已经被去除(如图3所示),且淋洗剂吐温80仅有16%的损失(如图4所示)。
    实施案例4
    将1.6glL的吐温80添加到回收的淋洗剂中,使其含量继续维持lOg/L。第三次应用于土壤淋洗修复,24h的淋洗效率依然保持在87 .1%(如图2所示)。
    一种用于土壤淋洗液中淋洗剂的回收装置,包括反应槽l和UV灯2,UV灯2置于反应槽l内,反应槽l设取样口1-1。在反应槽1中加入淋洗液后,UV灯2浸没在淋洗液中,以UV灯2发出的UV光活化置于反应槽l中的过硫酸盐产生硫酸根自由基,选择性氧化降解土壤淋洗液中的菲,达到回收淋洗剂吐温80的目的。反应槽l上设取样口1-1,以方便取样。
    具体的,反应槽l下方设有磁力搅拌器3,磁力搅拌器3在反应过程中保持反应槽l中的溶液处于搅拌状态,使溶液中各组分均匀分布。
    具体的,反应槽1外套设冷却罐5,冷却罐5上设进水口5-1和出水口5-2,进水口5-1和出水口5-2分别通过管道连接一储水池6,进水口5-1与储水池6连通的管道上设有提升泵4。UV灯2发出的UV光活化置于反应槽l中的过硫酸盐产生硫酸根自由基的过程中会产生热能导致溶液升温,利用反应槽l外套设的冷却罐5内水循环达到控制温度目的。

30

装备制造经验

立即免费获取土壤修复方案

为用户提供及时、高效、便捷的服务

在线咨询
AG贵宾会环境希望与你携手,共创美好未来...
5