AG贵宾会

行业动态

了解最新公司动态及行业资讯

固废土壤破碎装置的结构

2018-09-17 01:02:54 286 编辑:admin 来源:本站
       固体废弃物是指人类在生产、消费、生活和其他活动中产生的固态、半固态废弃物 质(国外的定义则更加广泛,动物活动产生的废弃物也属于此类),通俗地说,就是“垃圾”。 主要包括固体颗粒、垃圾、炉渣、污泥、废弃的制品、破损器皿、残次品、动物尸体、变质食品、 人畜粪便等。有些国家把废酸、废碱、废油、废有机溶剂等高浓度的液体也归为固体废弃物。 所谓废弃物,多指固体废弃物或含多量固体的废弃物,被丢弃的废弃物有可能成 

     为生产的原材料、燃料或消费物品,这是固体废弃物资源化处理的基础。固体废弃物的产生 与排放,伴随着人类社会还在延续,社会化生产的生产、分配、交换、消费环节都会产生废弃 物;产品生命周期的产品的规划、设计、原材料采购、制造、包装、运输、分配和消费等环节也 会产生固体废弃物,即使是利用固体废弃物进行逆生产及相应的逆向物流过程也同样会产 生固体废弃物。 现有固废垃圾在后期处理前一般需要粉碎,目前一般的土壤破碎机粉碎效率差,且在 粉碎过程中容易发生堵塞现象。 
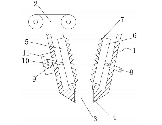
      固废土壤破碎设备,主要包括装置外壳、进料机构,所述进料机构位于装置外壳上方,所述装置外壳底部设置有排料孔,所述排料孔侧壁上设置有耐磨层,所述装置外壳内部一侧设置有破碎板A,另一侧设置有破碎板B,所述破碎板B与调节杆连接,所述破碎板A、破碎板B侧壁上设置有破碎齿,所述破碎板A与连接杆连接,所述连接杆与偏心轮连接,所述偏心轮与驱动电机连接。本发明结构简单,在使用时调节杆控制破碎板B的张角角度调节,同时驱动电机带动连接杆往复移动实现破碎板A可以对固废进行粉碎,这样使垃圾得到充分粉碎,且避免了发生堵塞现象,有效的提高了垃圾的粉碎效率。

30

装备制造经验

立即免费获取土壤修复方案

为用户提供及时、高效、便捷的服务

在线咨询
AG贵宾会环境希望与你携手,共创美好未来...
5