AG贵宾会

行业动态

了解最新公司动态及行业资讯

原位土壤修复设备修复的领域是什么

2018-07-09 02:33:51 322 编辑:admin 来源:本站
      环境保护部与国土资源部联合发布的《全国土壤污染状况调查公报》显示,全国土 壤环境状况不容乐观,总的超标率为16 .1%。我国部分地区耕作土壤重金属污染呈现局部 加剧的态势。农业部农产品污染防治重点实验室对全国24个省市土地调查显示,320个严重 污染区,约548×104hm2,重金属超标的农产品占污染物超标农产品总面积的80%以上。近 年来有关污染导致的诸如镉大米、砷超标等食品安全问题,增加了民众对土壤污染的担忧。 [0003] 当下农村土壤污染的严峻现实:大量高污染、高排放企业向农村转移,成了污染土 壤的大户;城市污染河流流向农村;农民在种田过程中大量施用化肥、农药引发面源污染, 以及矿山开采造成的污染。而对于农村污染土地来说,许多污染是多年积累而成,对污染面 积较大且主要以中轻度为主的重金属污染农田而言,其修复技术与方式的选择必须充分考 虑农业生产方式和开发类型,同时要统筹兼顾有效性、经济性和推广性,因此提供一种能够 修复受污染的土壤修复设备是具有积极意义的。 
土壤修复设备

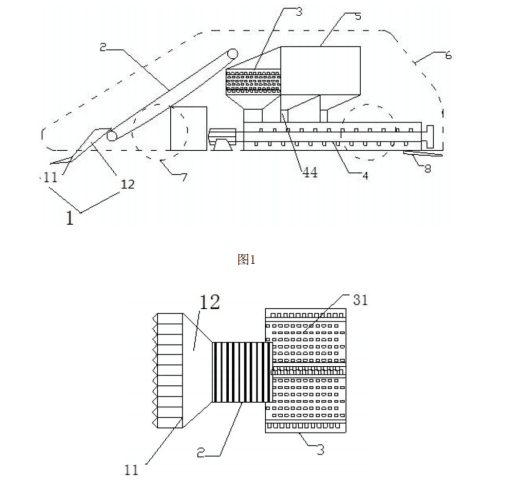
     该原位土壤修复设备能够修复 受重金属污染的农田。 为了实现上述目的,本实用新型提供一种原位土壤修复设备,包括主机架,所述主 机架上设置有挖掘装置、输送装置、破碎筛分装置、搅拌混合装置以及药剂储存装置,位于 前方的所述挖掘装置将所挖掘的土壤通过输送装置输送到所述破碎筛分装置进行破碎筛 分,所述破碎筛分装置的出料口连通到所述搅拌混合装置的进料口,该搅拌混合装置的进 料口还与所述药剂储装置连通,并且该搅拌混合装置的出料口连通有土壤摊铺装置,其中, 所述主机架的下方设置有行进装置。

30

装备制造经验

立即免费获取土壤修复方案

为用户提供及时、高效、便捷的服务

在线咨询
AG贵宾会环境希望与你携手,共创美好未来...
5