AG贵宾会

行业动态

了解最新公司动态及行业资讯

土壤热解析设备的背景技术和使用内容

2017-12-13 08:05:28 290 编辑:admin 来源:本站
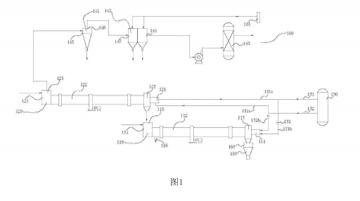
        目前土壤修复的方法主要有土壤热解吸设备,氧化还原,微生物修复,气相抽提等技术,热解吸是通过直接或间接加热,将土壤中有机物污染组分加热至足够高的温度,使其与土壤分离的过程,对于石化行业造成的石油类挥发性有机物污染土壤的修复具有较好的效果,现有技术中低温热解析窑系统的热源是采用高温热解析窑系统中出土的高温土的余热作为热源。如果治理现场的重组分有机污染土壤较少,而轻组分有机污染土壤较多时,无法提供足够的高温土作为热源,除非将一部分轻组分有机污染土壤也送进高温热解析窑粗粒,这会导致过度处理,造成能源的浪费。
 
          可变工艺的有机污染土壤热解析设备处理,它能够对不同土壤采用不同的加热温度,灵活调整治理方案,满足不同情况的需求,在保证处理效果的同时,可节省能源。它的有益效果是:通过低温热解析窑系统和高温热解析窑系统对污染土壤进行分类处理,对不同土壤采用不同的加热温度,在保证处理效果的同时,可节省能源。采用燃气燃烧系统作为低温热解析窑的热源。

30

装备制造经验

立即免费获取土壤修复方案

为用户提供及时、高效、便捷的服务

在线咨询
AG贵宾会环境希望与你携手,共创美好未来...
5