AG贵宾会

行业动态

了解最新公司动态及行业资讯

含油土壤热脱附修复技术

2017-10-10 02:11:36 302 编辑:admin 来源:本站
  热脱附技术是通过直接或间接加热使挥发性物质从不挥发性物质中脱附的技术,它是修复污染土壤的有效技术之一。与焚烧不同,热脱附技术并不是使有机污染组分分解,而是通过直接或间接加热将土壤中的有机污染组分加热至挥发,从而使有机污染组分与土壤分离,达到修复土壤的目的。研究及应用结果表明 :热脱附技术对于含油土壤修复有很好的修复效果。
  目前,热脱附加热设备主要由加热容器、风机和加热装置等部件构成 ;其中,现有的加热装置主要采单一的用燃烧加热或微波加热,但是采用燃烧加热存在加热时间长、能耗高、脱附效率低等问题,而采用微波加热存在加热不均,容易产生闪点等问题,因此现有的热脱附加热设备对含油土壤的修复效果较差,而且十分不稳定。
  针对现有技术中的上述不足之处,本发明提供了一种用于含油土壤修复的热脱附加热设备,不仅能够有效保持加热的稳定性和均匀性,使对含油土壤的修复效果大幅提升,而且结构简单、能耗低、适用范围广。
  1、技术方案实现:
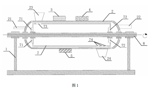
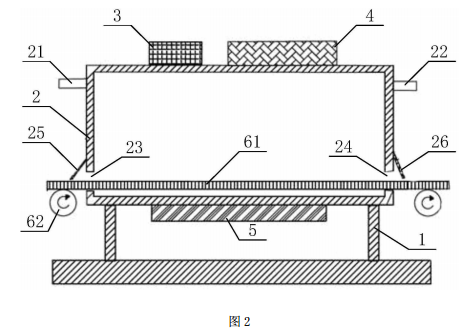
  一种用于含油土壤修复的热脱附加热设备,包括 :支架 1、壳体 2、微波加热装置 3、超声分散装置 4 和红外加热装置 5 ;壳体 2 固定于支架 1 上 ;壳体 2 的左侧端面设有壳体进气口 21,而壳体 2 的右侧端面设有壳体出气口 22 ;壳体 2 的左侧端部设有壳体进料口 23,而壳体 2 的右侧端部设有壳体出料口 24 ;微波加热装置 3 和超声分散装置 4 均固定于壳体2 的顶部 ;红外加热装置 5 固定于壳体 2 的底部 ;
  在对含油土壤加热过程中,含油土壤放置于壳体 2 内的下部,超声分散装置 4 开启,先采用红外加热装置 5 加热至预设温度,再开启微波加热装置 3 进行加热 ;保护气体经由壳体进气口 21 进入壳体 2 的内部,再经由壳体出气口 22 排出壳体 2 的外部 ;脱除油污后的干净土壤经由壳体出料口 24 排出壳体 2 的外部。
  优选地,所述的壳体进气口 21 和壳体出气口 22 均位于壳体 2 水平轴线的上方。微波加热装置 3 位于壳体 2 的竖直中心线的左侧,而超声分散装置 4 位于微波加热装置 3 的右侧。
  还包括 :控制装置和温度检测装置 ;控制装置分别与微波加热装置 3、超声分散装置 4、红外加热装置 5 和温度检测装置电连接,并控制微波加热装置 3、超声分散装置 4、红外加热装置 5 和温度检测装置运作 ;
  在对含油土壤加热过程中,温度检测装置实时检测红外加热装置 5 和微波加热装置 3 的加热温度,并将温度检测结果反馈给控制装置 ;而控制装置根据该温度检测结果将红外加热装置 5 和微波加热装置 3 的加热温度控制在脱附温度范围内,从而使该热脱附加热设备进入保持脱附温度状态,含油土壤中的油污逐渐脱除。
  优选地,还包括 :加热罐 7 和罐体转轴 8 ;壳体进料口 23 设于壳体 2 左端的顶部,而壳体出料口 24 设于壳体 2 右端的底部 ;加热罐 7 设于壳体 2 的内部,并且加热罐 7 上对应壳体进料口 23 的位置设有罐体进料口 73,而对应壳体出料口 24 的位置设有罐体出料口74 ;加热罐 7 的左侧端面上设有罐体进气口 71,而加热罐 7 的右侧端面上设有罐体出气口72 ;
  罐体转轴 8 沿壳体 2 的水平轴心线穿过壳体 2 的左侧端面、加热罐 7 的左侧端面、加热罐 7 的右侧端面和壳体 2 的右侧端面,并且带动加热罐 7 旋转 ;而罐体转轴 8 的左右两端均设置于支架 1 上 ;在对含油土壤加热过程中,含油土壤置于加热罐 7 的内部,罐体进料口 73 密封,加热罐 7 随罐体转轴 8 旋转。
  优选地,所述的罐体出料口 74 是设于加热罐 7 右端圆周上的一个独立开口,或者,是分布于加热罐 7 右端圆周上的多个出料孔。
  优选地,还包括 :皮带传输机构 ;壳体进料口 23 设于壳体 2 的左侧端面,而壳体出料口 24 设于壳体 2 的右侧端面 ;皮带传输机构包括传送带 61 和传送带滚筒 62 ;传送带 61装配在传送带滚筒 62 上,并且通过壳体进料口 23 和壳体出料口 24 横穿壳体 2 ;而传送带滚筒 62 设于壳体 2 的外部,并且带动传送带 61 运转 ;在对含油土壤加热过程中,含油土壤置于壳体 2 内部的传送带 61 上。
  优选地,壳体进料口 23上设有壳体进料口挡板 25,而壳体出料口 24上设有壳体出料口挡板 25 ;在对含油土壤加热过程中,壳体进料口挡板 25 将壳体进料口 23 密封,壳体出料口挡板 25 将壳体出料口 24 密封。
  由上述本发明提供的技术方案可以看出,本发明实施例所提供的用于含油土壤修复的热脱附加热设备先通过红外加热装置 5 对含油土壤浅层进行加热,当其温度达到预设温度时,再开启微波加热装置 3 开始对含油土壤的内部直接加热,这种先对含油土壤浅层进行加热再对含油土壤内部直接加热的方式不仅可以使含油土壤受热均匀、稳定,而且使含油土壤中的油污可以由外向内的逐渐脱除,从而使该热脱附加热设备对含油土壤的修复效果大幅提升。同时,在对含油土壤加热过程中,开启的超声分散装置 4 可以将聚结在一起的土壤颗粒分散开来,不仅有利于含油土壤中油污的去除,而且可以有效避免聚结在一起的土壤颗粒在加热过程中突然炸裂损坏设备。由此可见,本发明实施例不仅能够有效保持加热的稳定性和均匀性,使含油土壤的修复效果大幅提升,而且结构简单、能耗低、适用范围广。
  2、附图说明
  为了更清楚地说明本发明实施例的技术方案,下面将对实施例描述中所需要使用的附图作简单地介绍,显而易见地,下面描述中的附图仅仅是本发明的一些实施例,对于本领域的普通技术人员来讲,在不付出创造性劳动行的前提下,还可以根据这些附图获得其他附图。
  图 1 为本发明实施例所提供的用于含油土壤修复的热脱附加热设备的结构示意图一。
  图 2 为本发明实施例所提供的用于含油土壤修复的热脱附加热设备的结构示意图二。
含油土壤修复的热脱附加热设备的结构示意图含油土壤修复的热脱附加热设备的结构示意图

30

装备制造经验

立即免费获取土壤修复方案

为用户提供及时、高效、便捷的服务

在线咨询
AG贵宾会环境希望与你携手,共创美好未来...
5